· 2026-03-11 11:21:36
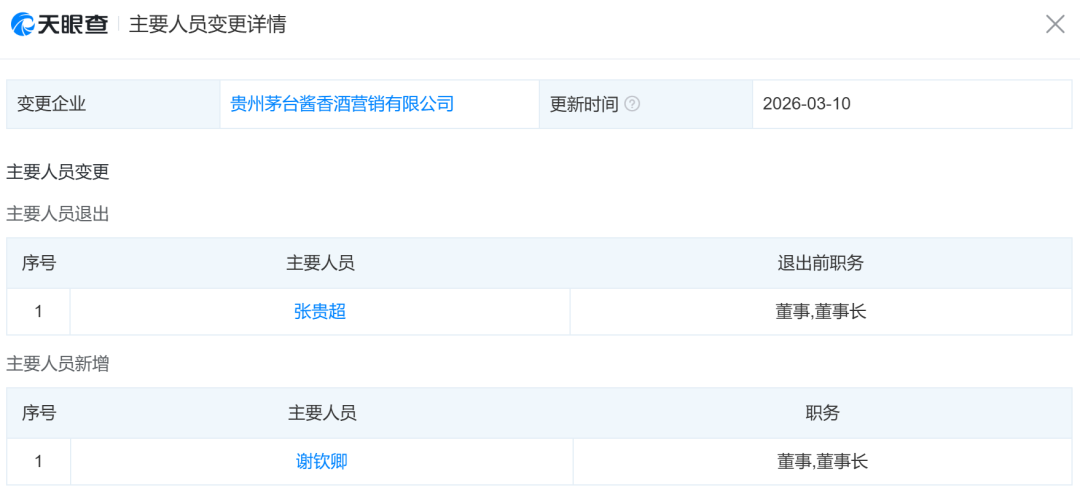
天眼查工商信息显示,近日,贵州茅台酱香酒营销有限公司发生工商变更,张贵超卸任法定代表人、董事长,由谢钦卿接任。
该公司成立于2014年12月,注册资本2亿人民币,经营范围包括茅台酒系列产品的销售,饮料、食品、包装材料的销售等。股东信息显示,该公司由贵州茅台(600519)全资持股。
推荐专题
更多>
第四届川酒宣传优秀新闻作品表彰活动暨"川酒之夜"媒体见面会
川酒新使命 正向铸华章
第114届全国糖酒商品交易会
全国糖酒会三月成都,行业风向标。
2026年贵州茅台酒全国经销商联谊会专题
铁犁盘酒
盘点热门酒业资讯
酒道思想家
思想家——大家之见,光耀酒业
第三届川酒宣传优秀新闻作品评选表彰盛典暨2025川酒新闻媒体新春联谊会
奏响川酒向上的乐章
2025川酒流通工作会议
应对酒业调整、共谋破局之道
下一篇